‘Solar powered iPhone’ on its way… targeting Galaxy
Apple is done obtaining the solar power battery charging technology that Samsung had been trying to take the lead at one point. Apple is challenging Samsung in a way.
Solar power will be another critical technology in the future of smart phone market along with flexible display. Although Samsung Electronics is currently focusing on the display part, they are deeply considering developing solar power technology.
■Apple recruiting solar power experts
According to the electronics industry sources on the 18th (KST), Apple has recently obtained the solar power charging technology. They have been granted on ‘solar power based charging touch sensor patent (No. 8,368,654)’ on last February from the USPTO. In November, they applied for ‘charging technique for MacBook and iPhone via solar charging patent’.
Previously in 2011, they had obtained ‘power circuit technology powered by solar power patent (No. 7,868,582)’. This allowed them to transfer solar power energy fitted to the mobile and power the battery. It is sort of like a small mobile voltage converter.
The fact that Apple is pursuing after solar power technology is not a secret anymore. They have been openly recruiting solar power battery experts from all around the world since last September. They planning to place them in the mobile department.
■Samsung, sleeping on solar power tech for 4 years
Apple’s advancing progress is burdening Samsung Electronics. Samsung previously had release a solar powered battery phone called, ‘Blue Earth’ in October of 2009. They did not work on the technology because they thought the market wasn’t ready at the time.
In 2011, Samsung had also applied solar power charging technology to their laptop ‘Samsung Sense NC 215’ and did not end up with a satisfying result. It was because the user would have to put it out in the sunlight for 2 hours to use an hour of the laptop.
One of the branch companies of Samsung Electronics called Samsung SDI is focusing on producing thin film solar power batteries after stoping the crystalline ones last year. They are purposely taking the hard way to show that they're capable of handling higher level of technology.
Many critics are saying that now Samsung needs to find a way to overcome the limited battery problems for wearable products they have recently produced such as the Galaxy Gear.
Korean Patent Office had stressed that they would need to find a way to charge with small or dim light because people cannot be outside all day just to charge their electronics.
Samsung is voicing that they will push on to develop eco-friendly technologies and improve energy efficiency so that they can continue the solar power mobile development as well.
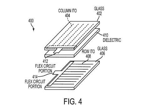
According to the electronics industry sources on the 18th (KST), Apple has recently obtained the solar power charging technology. They have been granted on ‘solar power based charging touch sensor patent (No. 8,368,654)’ on last February from the USPTO. In November, they applied for ‘charging technique for MacBook and iPhone via solar charging patent’.
| ▲ The solar powered charger touch sensor structure |
Previously in 2011, they had obtained ‘power circuit technology powered by solar power patent (No. 7,868,582)’. This allowed them to transfer solar power energy fitted to the mobile and power the battery. It is sort of like a small mobile voltage converter.
| ▲ Solar powered battery phone ‘Blue Earth’ that Samsung had released in October of 2009 |
In 2011, Samsung had also applied solar power charging technology to their laptop ‘Samsung Sense NC 215’ and did not end up with a satisfying result. It was because the user would have to put it out in the sunlight for 2 hours to use an hour of the laptop.


No comments: